“We began talking about the war, which, in the late summer of 1940, was looking most extremely black. Hedy said that she did not feel very comfortable, sitting there in Hollywood and making lots of money when things were in such a state. She said that she knew a good deal about munitions and various secret weapons … and that she was thinking seriously of quitting MGM and going to Washington, DC, to offer her services to the newly established Inventors’ Council.”
George Antheil
Composer, pianist, inventor
November 9 2023 — Often called “The Most Beautiful Woman in Films,” Hedy Lamarr’s beauty and screen presence made her one of the most popular actresses of her day. It is however much less known that Lamarr was also an inventor who, along with composer George Antheil, patented a frequency-hopping system during World War II that presaged Bluetooth and Wi-Fi technology. Follow us on Twitter: @INTEL_Today
RELATED POST: James Bond [D. Craig] Visits CIA Headquarters (June 25 2018)
RELATED POST: One Year Ago — Hollywood and the CIA: A peek behind the curtains
RELATED POST: Steven Spielberg to Direct ‘Pentagon Papers’ Film — UPDATE : Film Review
RELATED POST: World’s Greatest SPY Movies — 2017
“Any girl can be glamorous. All you have to do is stand still and look stupid.”
Hedy Lamarr
Hedy Lamarr — Hedwig Eva Maria Kiesler (November 9, 1914 – January 19, 2000) — patented an idea that later became the crutch of both secure military communications and mobile phone technology.
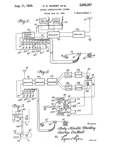
“In 1942, Hedy and composer George Antheil patented what they called the “Secret Communication System.”
The original idea, meant to solve the problem of enemies blocking signals from radio-controlled missiles during World War II, involved changing radio frequencies simultaneously to prevent enemies from being able to detect the messages.
While the technology of the time prevented the feasibility of the idea at first, the advent of the transistor and its later downsizing made Hedy’s idea very important to both the military and the cell phone industry.”
For their contributions, Lamarr and Antheil were inducted into the National Inventors Hall of Fame in 2014.
“If you use your imagination, you can look at any actress and see her nude… I hope to make you use your imagination.”
Hedy Lamarr
“Ecstasy girl”
The actor, who was born Hedwig Kiesler in Vienna in 1914, was given her new surname by Louis B Mayer when she signed for MGM in 1937.
He named her after the studio’s silent-era vamp Barbara La Marr – intending that her dark, heavy-lidded beauty should remind people of MGM’s sizzling back catalogue, not her own.
Back in Europe she had made a film that was too hot for MGM’s family-values ethos. Gustav Machaty’s Ecstasy (1933) starred a teenage Hedy as a frustrated bride who finds fulfilment in an affair with a young man: she appears completely nude and performs what is probably the first on-screen female orgasm.
Lamarr herself said that her movements in the love scene were prompted by the director shouting instructions and sticking her with a safety pin, but the effect, in this atmospheric, heavily symbolic and near-silent drama, is remarkably intense.
The film was banned in the US, but screened illicitly there for years, and no matter how many hits she had at MGM, and despite the studio’s efforts, Lamarr was frequently referred to as the “Ecstasy girl”.
“American men, as a group, seem to be interested in only two things, money and breasts. It seems a very narrow outlook.”
Hedy Lamarr
Lamarr’s Patent — Invention of Spread Spectrum Technology
Lamarr’s greatest scientific triumph was intended for the US navy during the second world war, but is now used in modern wireless communication.
Her “secret communication system” used “frequency hopping” to guide radio-controlled missiles underwater in a way that was undetectable by the enemy.
It was Lamarr’s brainwave (though some say she may have first seen a sketch of a similar idea in the office of her first husband, the Austrian munitions manufacturer Fritz Mandl) and she developed it together with a friend, the composer George Antheil. The patent was granted in 1942.
Bombshell – The Hedy Lamarr Story – Official Trailer
Hollywood star Hedy Lamarr was known as the world’s most beautiful woman – Snow White and Cat Woman were both based on her iconic look.
However, her arresting looks and glamorous life stood in the way of her being given the credit she deserved as an ingenious inventor whose pioneering work helped revolutionize modern communication.
Mislabelled as “just another pretty face,” Hedy’s true legacy is that of a technological trailblazer.
She was an Austrian Jewish émigré who invented a covert communication system to try and help defeat the Nazis, then gave her patent to the Navy, but was ignored and told to sell kisses for war bonds instead.
It was only towards the very end of her life that tech pioneers discovered her concept which is now used as the basis for secure WiFi, GPS and Bluetooth.
Hedy never publicly talked about her life as an inventor and so her family thought her story died when she did.
But in 2016, director Alexandra Dean and producer Adam Haggiag unearthed four never-before-heard audio tapes of Hedy speaking on the record about her incredible life.
“Here is certainly a fair question. If the US Intel Community indeed suspects microwave attacks against their people, why don’t they install spectrum analyzers in the homes and offices of U.S. diplomats?”
Intel Today
July 9 2021
A simple method to hide Havana Syndrome attacks (November 9 2022)
Last year, U.S. Secretary of State Antony Blinken spoke about efforts to investigate Havana syndrome.
For the very first time, Blinken confirmed that the State Department has deployed microwave detection systems to U.S. missions around the world to help understand the cause.
RELATED POST: On This Day — And thus a new syndrome was born… [Havana Syndrome – October 3 2017]
I have already told you about an old technique that had been used to hide microwave spying.
Well, that was then… Today, the possibilities are infinite.
Of course, Intelligence tradecraft doesn’t rely on just one “hide” (such as masking with ghost signals), but layers many “hides” on top of each other to make it extraordinarily difficult for victims of their espionage to detect attacks.
Long before two SNOWDEN documents revealed that the US Intelligence Community was still using the brilliant idea of Leon Theremin to conduct espionage operations, I thought that frequency hopping would offer wonderful possibilities to hide these attacks.
RELATED POST: Havana Syndrome — What Are the Frequencies Used by US Intel for Microwave Spying? [2019]
Indeed, the attacker could hide his frequencies under the spectrum used by a Telecom operator without affecting the working of phones.
A good idea never gets old. And the frequency-hopping system patented by Hedy Lamarr and George Antheil during World War II never ceases to find new applications…
END of UPDATE
REFERENCES
Gal Gadot, ‘Affair’ Co-Creator Zero in on Hedy Lamarr Series for Showtime — Hollywood Reporter
Hedy Lamarr – the 1940s ‘bombshell’ who helped invent wifi — Guardian
=
On This Day — Remembering Actress and Inventor Hedy Lamarr (November 9, 1914 – January 19, 2000) [UPDATE : A simple method to hide Havana Syndrome attacks]


