“Any girl can be glamorous. All you have to do is stand still and look stupid.”
“American men, as a group, seem to be interested in only two things, money and breasts. It seems a very narrow outlook.”
“If you use your imagination, you can look at any actress and see her nude… I hope to make you use your imagination.”
Hedy Lamarr
“We began talking about the war, which, in the late summer of 1940, was looking most extremely black. Hedy said that she did not feel very comfortable, sitting there in Hollywood and making lots of money when things were in such a state. She said that she knew a good deal about munitions and various secret weapons … and that she was thinking seriously of quitting MGM and going to Washington, DC, to offer her services to the newly established Inventors’ Council.”
George Antheil — Composer, pianist and inventor
August 14 2018 — According to Hollywood rumors, Wonder Woman star Gal Gadot is nearing a deal to topline a Showtime limited series from Sarah Treem, co-creator of The Affair. The series would chronicle the life of Hedy Lamarr — Hedwig Eva Maria Kiesler (November 9, 1914 – January 19, 2000) — the Austrian-born actress who starred in Ecstasy, Samson and Delilah and other films. Lamarr was also an inventor who patented, among other things, a frequency-hopping system during World War II. Follow us on Twitter: @INTEL_Today
RELATED POST: James Bond [D. Craig] Visits CIA Headquarters (June 25 2018)
RELATED POST: One Year Ago — Hollywood and the CIA: A peek behind the curtains
RELATED POST: Steven Spielberg to Direct ‘Pentagon Papers’ Film — UPDATE : Film Review
RELATED POST: World’s Greatest SPY Movies — 2017
UPDATE (April 9 2019) — According to Variety, Gadot is indeed near a deal to star in and executive produce a Showtime series based on the life and career of Hedy Lamarr.
The series has not been formally picked up at the premium cabler, but it would be a limited series should the deal become finalized. Showtime has declined to comment.
Nevertheless, Showtime programming president Gary Levine made a not so cryptic comment regarding the rumour: “If Hedy Lamarr and Gal Gadot and Sarah Treem come together on Showtime, we would be very happy about it.”
END of UPDATE
Lamarr was also an inventor who, along with composer George Antheil, patented a frequency-hopping system during World War II that presaged Bluetooth and Wi-Fi technology.
For their contributions, Lamarr and Antheil were inducted into the National Inventors Hall of Fame in 2014.
“Ecstasy girl”
The actor, who was born Hedwig Kiesler in Vienna in 1914, was given her new surname by Louis B Mayer when she signed for MGM in 1937. He named her after the studio’s silent-era vamp Barbara La Marr – intending that her dark, heavy-lidded beauty should remind people of MGM’s sizzling back catalogue, not her own.
Back in Europe she had made a film that was too hot for MGM’s family-values ethos. Gustav Machaty’s Ecstasy (1933) starred a teenage Hedy as a frustrated bride who finds fulfilment in an affair with a young man: she appears completely nude and performs what is probably the first on-screen female orgasm.
Lamarr herself said that her movements in the love scene were prompted by the director shouting instructions and sticking her with a safety pin, but the effect, in this atmospheric, heavily symbolic and near-silent drama, is remarkably intense. The film was banned in the US, but screened illicitly there for years, and no matter how many hits she had at MGM, and despite the studio’s efforts, Lamarr was frequently referred to as the “Ecstasy girl”.
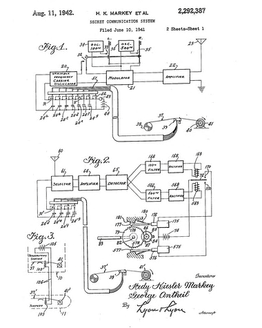
Lamarr’s Patent — Invention of Spread Spectrum Technology
Lamarr’s greatest scientific triumph was intended for the US navy during the second world war, but is now used in modern wireless communication.
Her “secret communication system” used “frequency hopping” to guide radio-controlled missiles underwater in a way that was undetectable by the enemy.
It was Lamarr’s brainwave (though some say she may have first seen a sketch of a similar idea in the office of her first husband, the Austrian munitions manufacturer Fritz Mandl) and she developed it together with a friend, the composer George Antheil. The patent was granted in 1942.
Bombshell – The Hedy Lamarr Story – Official Trailer
Hollywood star Hedy Lamarr was known as the world’s most beautiful woman – Snow White and Cat Woman were both based on her iconic look. However, her arresting looks and glamorous life stood in the way of her being given the credit she deserved as an ingenious inventor whose pioneering work helped revolutionize modern communication.
Mislabelled as “just another pretty face,” Hedy’s true legacy is that of a technological trailblazer. She was an Austrian Jewish émigré who invented a covert communication system to try and help defeat the Nazis, then gave her patent to the Navy, but was ignored and told to sell kisses for war bonds instead.
It was only towards the very end of her life that tech pioneers discovered her concept which is now used as the basis for secure WiFi, GPS and Bluetooth.
Hedy never publicly talked about her life as an inventor and so her family thought her story died when she did. But in 2016, director Alexandra Dean and producer Adam Haggiag unearthed four never-before-heard audio tapes of Hedy speaking on the record about her incredible life.
REFERENCES
Gal Gadot, ‘Affair’ Co-Creator Zero in on Hedy Lamarr Series for Showtime — Hollywood Reporter
Hedy Lamarr – the 1940s ‘bombshell’ who helped invent wifi — Guardian
=
Hollywood — Gal Gadot to Play Actress and Inventor Hedy Lamarr
Hollywood — Gal Gadot to Play Actress and Inventor Hedy Lamarr (UPDATE — Confirmed?)


